|
Təzyiq/MPa |
Temperatur / ° C |
Sürət /m/s |
Orta |
|
≤40 |
-35~+100 (uyğun NBR O-halqaları ilə) |
≤2 |
Hidravlik yağ, emulsiya, su, qaz və s. |
-20~+200 (uyğun FKM O-halqaları ilə) |
1. Uyğun O-ring materiallarına aşağıdakılar daxildir: R01 Nitril Butadien Kauçuk (NBR), R02 Fluororubber (FKM) və s.
2. Sızdırmazlıq halqasının materialları: Standart materiallar PTFE3 və PTFE4; digər isteğe bağlı materiallara PTFE1, PTFE2 və PTFE5 daxildir.
Ruichen, bütün məhsulların zəncirinə nəzarəti həyata keçirərək, xammalın başlanğıcından müstəqil tədqiqat və inkişaf və istehsal işləri həyata keçirmişdir.
1. Mühəndislik plastikləri və kompozit materiallar: Biz politetrafloroetileni (PTFE) əsas kimi götürürük, qarışdırma, sinterləmədən qəliblənməyə, hər cür doldurulmuş dəyişdirilmiş kompozit materialların boru və çubuğun müstəqil istehsalına və sonra möhürlərə dəqiq emal etməyə qədər. Bu, material xüsusiyyətlərinin sabitliyini və fərdiləşdirilməsini təmin edir.
2. Yüksək performanslı poliuretan elastomer: Biz prepolimer tökmədən başlayırıq, müstəqil olaraq yüksək keyfiyyətli poliuretan boru və çubuq materialları istehsal edir və onları aşınmaya davamlılığı, təzyiqə davamlılığı və hidroliz müqaviməti ilə fərqlənən müxtəlif tipli möhürlərə emal edirik.
Sifariş nümunəsi
Sifariş Modeli RC2054—80×69×4.2—PTFE3—R01 Model-D*d*L- Material Kodu Sifariş Modeli RCX18—80×69x4.2—HPU Modeli-D*d*L- Material Kodu
Spesifikasiyalar və parametrlər cədvəli (parametr aralığında istənilən spesifikasiya mövcuddur)
|
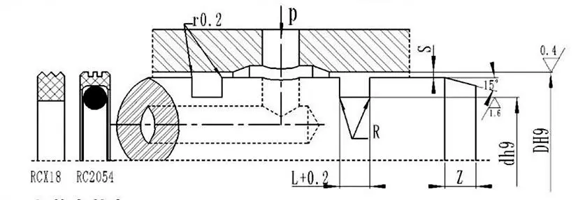
Diyafram diapazonu DH9 |
Xəndək diametri dh9 |
Xəndəyin eni L+0.2 |
Radial boşluq Smax |
Dairəvi künclər Rmax |
pax Zmin |
|
|
0~10Mpa |
10~20Mpa |
|||||
|
8~39 |
D-4.9 |
2.2 |
0.15 |
0.1 |
0.4 |
2 |
|
40~79 |
D-7.5 |
3.2 |
0.2 |
0.15 |
0.6 |
3 |
|
80~132 |
D-11.0 |
4.2 |
0.25 |
0.2 |
1.0 |
4 |
|
133~329 |
D-15.5 |
6.3 |
0.3 |
0.25 |
1.3 |
5 |
|
330~669 |
D-21.0 |
8.1 |
0.3 |
0.25 |
1.8 |
7 |
|
670~1500 |
D-28.0 |
9.5 |
0.45 |
0.3 |
2.0 |
8 |
|
D |
d |
L |
D |
d |
L |
D |
d |
L |
D |
d |
L |
|
8 |
3.1 |
2.2 |
50 |
42.5 |
3.2 |
170 |
154.5 |
6.3 |
380 |
359.0 |
8.1 |
|
10 |
5.1 |
2.2 |
55 |
47.5 |
3.2 |
180 |
164.5 |
6.3 |
390 |
369.0 |
8.1 |
|
12 |
7.1 |
2.2 |
60 |
52.5 |
3.2 |
190 |
174.5 |
6.3 |
400 |
379.0 |
8.1 |
|
14 |
9.1 |
2.2 |
63 |
55.5 |
3.2 |
200 |
184.5 |
6.3 |
420 |
399.0 |
8.1 |
|
15 |
10.1 |
2.2 |
65 |
57.5 |
3.2 |
210 |
194.5 |
6.3 |
450 |
429.0 |
8.1 |
|
16 |
11.1 |
2.2 |
70 |
62.5 |
3.2 |
220 |
204.5 |
6.3 |
480 |
459.0 |
8.1 |
|
18 |
13.1 |
2.2 |
75 |
67.5 |
3.2 |
230 |
214.5 |
6.3 |
500 |
479.0 |
8.1 |
|
20 |
15.1 |
2.2 |
80 |
69.0 |
4.2 |
240 |
224.5 |
6.3 |
520 |
499.0 |
8.1 |
|
22 |
17.1 |
2.2 |
85 |
74.0 |
4.2 |
250 |
234.5 |
6.3 |
550 |
529.0 |
8.1 |
|
24 |
19.1 |
2.2 |
90 |
79.0 |
4.2 |
260 |
244.5 |
6.3 |
600 |
579.0 |
8.1 |
|
25 |
20.1 |
2.2 |
95 |
84.0 |
4.2 |
270 |
254.5 |
6.3 |
630 |
609.0 |
8.1 |
|
28 |
23.1 |
2.2 |
100 |
89.0 |
4.2 |
280 |
264.5 |
6.3 |
650 |
629.0 |
8.1 |
|
30 |
25.1 |
2.2 |
105 |
94.0 |
4.2 |
290 |
274.5 |
6.3 |
670 |
642.0 |
9.5 |
|
32 |
27.1 |
2.2 |
110 |
99.0 |
4.2 |
300 |
284.5 |
6.3 |
700 |
672.0 |
9.5 |
|
35 |
30.1 |
2.2 |
115 |
104.0 |
4.2 |
310 |
294.5 |
6.3 |
750 |
722.0 |
9.5 |
|
36 |
31.1 |
2.2 |
120 |
109.0 |
4.2 |
320 |
304.5 |
6.3 |
800 |
772.0 |
9.5 |
|
38 |
33.1 |
2.2 |
125 |
114.0 |
4.2 |
330 |
309.0 |
8.1 |
1000 |
972.0 |
9.5 |
|
40 |
32.5 |
3.2 |
130 |
119.0 |
4.2 |
340 |
319.0 |
8.1 |
|
|
|
|
42 |
34.5 |
3.2 |
140 |
124.5 |
6.3 |
350 |
329.0 |
8.1 |
|
|
|
|
45 |
37.5 |
3.2 |
150 |
134.5 |
6.3 |
360 |
339.0 |
8.1 |
|
|
|
|
48 |
40.5 |
3.2 |
160 |
144.5 |
6.3 |
370 |
349.0 |
8.1 |
|
|
|
Qeyd: Tələb olunan spesifikasiyalar burada qeyd edilməyib; zəhmət olmasa şirkətimizlə əlaqə saxlayın. Maksimum diametri 2800 mm olan məhsullar təklif edirik.



Ünvan
No.1 Ruichen Round, Dongliuting Industrial Park, Chengyang District, Qingdao City, Shandong Province, Çin
Tel
E-poçt