Yüksək təzyiqli fırlanan möhürlər seriyası, RC2051, RC2052, RC2053, RC2053, RCX17, RCX18, RCX18, RDS, RCS və RCS və RC2057, o cümlədən yüksək performanslı məhsulları, rcx18, RDA, RDA, RDA, RDAM2057, hidravlik, pnevmatik və su təzyiq mühitində qarşılıqlı və fırlanan hərəkət üçün hazırlanmışdır.
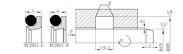
RC2051 seriyası, bir tərəfli möhür üçün doldurulmuş PTFE dişli möhür üzükləri və o-üzüklərin birləşməsini istifadə edir. Aşağı sürtünmə və yüksək möhürləmə xüsusiyyətlərinə malikdir və standart tipə (RC2051-b) və yüksək sürətli tipli (RC2051-G) bölünür.
RC2052 və RC2054 seriyası, hidravlik fırlanan iki istiqamətli bağlama üçün uyğun olan yağ saxlama yivləri olan kvadrat möhür üzükləri ilə təchiz edilmişdir. Quruluş kompaktdır və su təzyiqinin mühitini dəstəkləyir.
RCX17 və RCX18 seriyası, asan quraşdırma üçün dişli çarpaz bölmə dizaynı olan yüksək performanslı pu materiallardan hazırlanmışdır. Dönər şaft və fırlanan dəlik sızdırması üçün uygundur və yiv dizaynı bir-birini əvəz edir.
RDI və RDA seriyası, PTFE Sealing Rings, L formalı plastik dəstək üzükləri və yüksək sürətlə, fırlanan iki istiqamətli sızdırma, yüksək təzyiq müqavimət, aşağı sürtünmə və uzun ömür üçün uyğun olan ptfe möhürləmə üzüklərindən ibarətdir.
RCS seriyası PTFE gücü yağı möhürü, mürəkkəb iş şəraiti üçün uyğun olan bir metal skelet və bir ptfe möhürləmə dodağı ehtiva edir.
RC2057 Series Full PTFE Neft möhürü ənənəvi neft möhürlərinin görüşə bilmədiyi xüsusi hallar üçün hazırlanmışdır.
RC2065 seriyası, sadə bir quruluş və asan quraşdırma ilə fırlanan vaflar üçün bir tərəfli təzyiq möhürü verir. Materiallar nitril rezin (NBR) və ya flüororubber (FKM) ola bilər.
Ruichen möhürünün müxtəlif möhürləri yüksək həyatın, aşağı sürtünmə, əla möhürləmə və kompakt quruluşun xüsusiyyətlərinə malikdir. Onlar hidravlik sistemlərdə, pnevmatik avadanlıq, su təzyiqli avadanlıq, yüksək təzyiqli fırlanan maşın və s. Və s., Etibarlı yüksək performanslı sızdırmazlıq həlləri ilə geniş istifadə olunur.
Məhsul xüsusiyyətləri və tətbiqləri:
Məhsul xüsusiyyətləri:
Uzun ömür: Yüksək keyfiyyətli materiallar və struktur dizayn xidmət ömrünü uzat.
Aşağı sürtünmə: PTFE və PU materialları qaçış müqavimətini azaldır və səmərəliliyi artırır.
Yaxşı möhürləmə: Xüsusi dodaq və neft anbarı tank dizaynı əla möhürləmə performansını təmin edir.
Yığcam quruluş: müxtəlif quraşdırma mühitləri üçün uyğun kiçik məkan dizaynı.
Geniş tətbiq olunur: hidravlik, pnevmatik, su təzyiqi və yüksək təzyiq, yüksək sürətli, aşağı sürətlə və digər iş şəraiti üçün uyğundur.
Tətbiq sahələri:
Hidravlik sistemi, pnevmatik avadanlıq, su təzyiq avadanlığı.
Yüksək təzyiqli fırlanan maşın, aşağı sürətlə ağır yükləmə avadanlığı.
Sənaye avadanlıqları, Mühəndislik maşınları, Avtomobil və aerokosmik və digər sahələr.
Material seçimi:
1. Uyğun O-Rinq materialı seçilə bilər: R01 Nitril Rezin (NBR), R02 Fluororubber (FKM) və s.
2. Sızdırmazlıq Ring Material: Standart material PTFE4, digər isteğe bağlı materiallar PTFE1, PTFE2, PTFE3, PTFE5.
RCX18 Material: HPU.
Struktur diaqram

Sifariş Model RC2052-80x91x4.2-PTFE3-RO1 MODEL-DXDXL-Material kodu sifariş modeli RCX17-80X91X4.2-HPU Model-DXDXL-Material kodu
Sifariş Model RC2054-80x69x4.2-PTFE3-RO1 MODEL-D * D * L-maddi kodu sifariş modeli RCX18-80X69X4.2-HPU Model-D * D
RDI quraşdırma ölçüləri
| df8 | Dh9 | L d10 | H | Boşluq | |
| 0-10MPA | 10-36MPA | ||||
| 50-79 | D + 10 | 5 | 4.5 | 0.4-0.3 | 0.3-0.25 |
| 80-109 | D + 13.8 | 7.5 | 7 | 0.45-0.35 | 0.35-0.3 |
| 110-299 | d + 20 | 10 | 9.5 | 0.55-0.45 | 0.45-0.35 |
| 300-600 | D + 24 | 13 | 12.5 | 0.6-0.55 | 0.55-0.45 |
| > 600 | Zəhmət olmasa şirkətimizlə məsləhətləşin | ||||
Qarmaqarışıq
| Çubuq diametrli diapazon | Chamfer uzunluğu e≥ |
| 50-56 | 6 |
| 57-100 | 7 |
| 101-290 | 10 |
| 291-600 | 15 |
Rəbz Quraşdırma ölçüləri
| Dh8 | Dh9 | L d10 | H | Boşluq | |
| 0-10MPA | 10-36MPA | ||||
| 50-124 | D-16 | 8 | 7.5 | 0.45-0.35 | 0.35-0.3 |
| 125-199 | D-20 | 10 | 9.5 | 0.55-0.45 | 0.45-0.35 |
| 200-600 | D-26 | 13 | 12.5 | 0.6-0.55 | 0.55-0.45 |
Qarmaqarışıq
| Çubuq diametrli diapazon | Chamfer uzunluğu e≥ |
| 50-95 | 7 |
| 96-190 | 10 |
| 191-300 | 12 |
| 301-600 | 15 |
RCS növü PT FE gücü yağı möhürü (PTFE yağı möhürü)
RC2057 tipli tam pt fe yağ möhürü
RCS tipli PTFE gücü yağı möhürü metal çərçivə, ptfe möhürləyən dodaq və daxili statik möhürdən ibarətdir. Bu tip, b tipi, c tipi, d tipli və s. Xüsusiyyətlər:
1. Kimyəvi korroziyaya qarşı müqavimət
2. Geniş temperatur aralığı
3. Aşağı yağlama və yağsız yağlama üçün uyğundur
4. Minimum güc istehlakına nail olmaq üçün aşağı sürtünmə
5. Yüksək xətt sürəti üçün uyğundur
6. Uzun müddətli bağlanmadan sonra başlanğıc üçün heç bir yapışma, aşağı müqavimət
7. Sərtləşməmiş fırlanan şaftlar üçün uyğundur (PTFE dodaqının ağlabatan seçimi)
8. Daha yüksək təzyiq olan hallar üçün uyğundur
Ⅰ. Tipik tətbiqlər:
Dönər kompressorlar, vida kompressorları, ötürücü / ötürücü qutuları, üfürücülər, mühərriklər, maşın alət nasosları, hidravlik mühərriklər, sentrifuqalar və s.
Ⅱ. Çiftleşmə səthləri üçün sərtlik tələbləri
Tövsiyə olunan sərtlik: HRC ≥ 58. Tələb olunan sərtlik bir çox amillərlə bağlıdır. Yumşaq fırlanan şaftlar aşağı təzyiq və aşağı sürətli vəziyyətlərdə də tətbiq olunur. PTFE6 dodaq plitələrində yumşaq metallar üçün tövsiyə olunur.
Ⅲ. Çiftleşmaclar üçün keyfiyyət tələbləri
Ra = 0.2-0.63 a rz = 1-3um rmax = 1-4um
| Kəsalama | Model | Təzyiq etmək (MPa) | Temperatur (℃) | Sürətlə (m / s) | Mühit |
|
Rcs-a | 0.5 | -35 ~ + 200 | 40 | Neft, qaz, su və s. |
|
Rcs-b | 2 | -35 ~ + 200 | 20 | Neft, qaz, su və s. |
|
Rcs-c | 1 | -35 ~ + 200 | 20 | Neft, qaz, su və s. |
|
Rcs-d | 2 | -35 ~ + 200 | 20 | Neft, qaz, su və s. |
|
RC2057-A | 0.5 | -35 ~ + 200 | 30 | Demək olar ki, bütün media |
|
RC2057-b | 2 | -35 ~ + 200 | 20 | Demək olar ki, bütün media |
Ⅳ. Maye güc spiral axını nümunəsi:
RCS-D növü, möhürləmə qabiliyyətini yaxşılaşdırmaq üçün bir spiral axını naxışlı bir quruluşu olan bir dodaq boşqabını qəbul edir. Fırlanan mil yalnız bir istiqamətdə dönməyə icazə verilir.
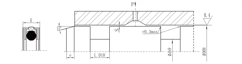
RC20658 Quraşdırma ölçüləri
| Model | df8 | Dh9 | L d10 | Smaksimum |
| RC2065A | 400-3000 | D + 16.8 | 15.1 | 1.2 |
| RC2065 | 400-3000 | D + 17.5 | ||
| > 3000 | Zəhmət olmasa şirkətimizlə məsləhətləşin | |||
Qarmaqarışıq
| Çubuq diametrli diapazon | Chamfer uzunluğu e≥ |
| 400-1000 | 15 |
| 1001-2000 | 20 |
| 2001-3000 | 25 |
Xüsusiyyətlər və ölçülər:
| d f8 Standart RC2051 | d f8 İşıq yükü RC2051-Q | d f8 Ağır yük RC2051-Z | D h9 | L+0.2 | L1 | Rmaksimum | Smaksimum | Zdəq | d0 | ||
| <10MPA | <20MPA | <40mpa | |||||||||
| - | 5 ~ 15.9 | - | D + 4.5 | 3. 1 | 2.8 | 0.3 | 0.3 | 0.2 | 0. 15 | 3 | 1.8 |
| 5 ~ 15.9 | 16 ~ 38.9 | - | D + 6.3 | 4.0 | 3.7 | 0.4 | 0.4 | 0.25 | 0. 15 | 4 | 2.65 |
| 16 ~ 38.9 | 39 ~ 107.9 | 5 ~ 15.9 | D + 8.2 | 5.2 | 4.7 | 0.4 | 0.4 | 0.25 | 0.2 | 5 | 3.55 |
| 39 ~ 107.9 | 108 ~ 670.9 | 16 ~ 38.9 | D + 11.7 | 7.6 | 7. 1 | 0.5 | 0.5 | 0.3 | 0.2 | 7 | 5.30 |
| 108 ~ 670.9 | 671 ~ 999 | 39 ~ 107.9 | D + 15.5 | 9.6 | 8.9 | 0.6 | 0.6 | 0.35 | 0.25 | 10 | 7.00 |
| 671 ~ 999 | 1000 ~ 1599 | 108 ~ 670.9 | D + 19.4 | 12. 1 | 11.3 | 0.7 | 0.7 | 0.5 | 0.3 | 12 | 8.60 |
| 1000 ~ 1599 | ≥1600 | 671 ~ 999 | D +22 | 14.8 | 13.5 | 0.8 | 0.8 | 0.6 | 0.4 | 15 | 10.0 |
| ≥1600 | - | 1000 ~ 1599 | D + 26 | 17.8 | 16.3 | 1.0 | 1.0 | 0.7 | 0.6 | 20 | 12.0 |
Qeyd: 1. Şaft diametri ≤30mm üçün açıq yivdən istifadə etmək tövsiyə olunur. Açıq yük növü qapalı yivdə quraşdırmaq daha asandır.
2. Dönən şaftın səth sərtliyinin HRC> 58-i olması tövsiyə olunur.
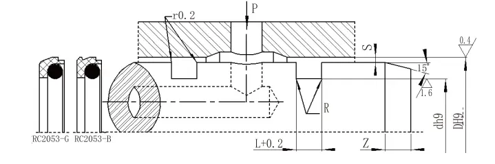
RC2053
| Diyar aralığı D h9 | Yiv diametri d h9 | Yivli genişliyi L + 0.2 | Möhürlük L1 | Dairəvi künclər Rmaksimum | Radial rəsmiləşdirmə s | Qarmaqarışıq Zansız | O-Ring Wire Diametri d0 | ||
| <10MPA | <20MPA | <40mpa | |||||||
| 8 ~ 12 | D-4.5 | 3.1 | 2.8 | 0.3 | 0.3 | 0.2 | 0.15 | 3 | 1.8 |
| 13 ~ 24 | D-6.3 | 4 | 3.7 | 0.4 | 0.4 | 0.25 | 0.15 | 4 | 2.65 |
| 25 ~ 51 | D-8.2 | 5.2 | 4.7 | 0.4 | 0.4 | 0.25 | 0.2 | 5 | 3.55 |
| 52 ~ 127 | D-11.7 | 7.6 | 7.1 | 0.5 | 0.5 | 0.3 | 0.2 | 7 | 5.30 |
| 128 ~ 500 | D-15.5 | 9.6 | 8.9 | 0.6 | 0.6 | 0.35 | 0.25 | 10 | 7.00 |
| 501 ~ 1600 | D-19.4 | 12.1 | 11.3 | 0.7 | 0.7 | 0.5 | 0.3 | 12 | 8.6 |
Qeyd: 1. Şaft diametri üçün ≤ 30 mm, açıq yiv tövsiyə olunur.
RC2052
| Şaft diametri aralığı d f8 | Yiv diametri D h9 | Yivli genişliyi L+0.2 | Radial rəsmiləşdirmə smaksimum | Dairəvi künclər Rmaksimum | Qarmaqarışıq Zdəq | |
| 0 ~ 10MPA | 10 ~ 20MPA | |||||
| 6 ~ 18 | D + 4.9 | 2.2 | 0.15 | 0.1 | 0.4 | 2 |
| 19 ~ 37 | D + 7.5 | 3.2 | 0.2 | 0.15 | 0.6 | 3 |
| 38 ~ 199 | D + 11.0 | 4.2 | 0.25 | 0.2 | 1.0 | 4 |
| 200 ~ 255 | D + 15.5 | 6.3 | 0.3 | 0.25 | 1.3 | 5 |
| 256 ~ 649 | D + 21.0 | 8.1 | 0.3 | 0.25 | 1.8 | 7 |
| 650 ~ 1500 | D + 28.0 | 9.5 | 0.45 | 0.3 | 2.0 | 8 |
Qeyd: 1. Şaft diametri üçün ≤ 30 mm, açıq yiv tövsiyə olunur.
2. Təzyiqlər üçün> 30 MPA, möhür kökü sahəsi H8 / F8 tolerantlığından istifadə edir.
RC2054| Diyar aralığı D h9 | Yiv diametri d h9 | Yivli genişliyi L+0.2 | Radial rəsmiləşdirmə smaksimum | Dairəvi künclər Rmaksimum | Qarmaqarışıq Zdəq | |
| 0 ~ 10MPA | 10 ~ 20MPA | |||||
| 8 ~ 39 | D-4.9 | 2.2 | 0.15 | 0.1 | 0.4 | 2 |
| 40 ~ 79 | D-7.5 | 3.2 | 0.2 | 0.15 | 0.6 | 3 |
| 80 ~ 132 | D-11.0 | 4.2 | 0.25 | 0.2 | 1.0 | 4 |
| 133 ~ 329 | D-15.5 | 6.3 | 0.3 | 0.25 | 1.3 | 5 |
| 330 ~ 669 | D-21.0 | 8.1 | 0.3 | 0.25 | 1.8 | 7 |
| 670 ~ 1500 | D-28.0 | 9.5 | 0.45 | 0.3 | 2.0 | 8 |
| Profil | Model | Təzyiq etmək (MPa) | Temperatur (℃) | İstinad sürəti (m / s) |
İstinad PV dəyəri Mpa.m / s | Media |
|
RC2051-b | ≤70 (standart) | -35 ~ + 100 (uyğun o-ring nbr) | <2 | ≤5 | Hidravlik yağ, emulsiya, su, qaz və s. Hidravlik yağ, emulsiya, su, qaz və s. |
| ≤30 (yüksək sürətlə) | -20 ~ + 200 (uyğun O-Ring FKM) | <6 | ||||
|
RC051-G | ≤70 (standart) | -35 ~ + 100 (uyğun o-ring nbr) | <2 | ≤5 | Hidravlik yağ, emulsiya, su, qaz və s. Hidravlik yağ, emulsiya, su, qaz və s. |
| ≤30 (yüksək sürətlə) | -20 ~ + 200 (uyğun O-Ring FKM) | <6 | ||||
|
RC2053-b | ≤70 (standart) | -35 ~ + 100 (uyğun o-ring nbr) | <2 | ≤5 | Hidravlik yağ, emulsiya, su, qaz və s. Hidravlik yağ, emulsiya, su, qaz və s. |
| ≤30 (yüksək sürətlə) | -20 ~ + 200 (uyğun O-Ring FKM) | <6 | ||||
|
RC2053-G | ≤70 (standart) | -35 ~ + 100 (uyğun o-ring nbr) | <2 | ≤5 | Hidravlik yağ, emulsiya, su, qaz və s. Hidravlik yağ, emulsiya, su, qaz və s. |
| ≤30 (yüksək sürətlə) | -20 ~ + 200 (uyğun O-Ring FKM) | <6 | ||||
|
RC2052 | ≤40 | -35 ~ + 100 (uyğun o-ring nbr) | ≤2 | ≤2.5 | Hidravlik yağ, emulsiya, su, qaz və s. Hidravlik yağ, emulsiya, su, qaz və s. |
| -20 ~ + 200 (uyğun O-Ring FKM) | ||||||
|
Rcx17 | ≤20 | -35 ~ + 100 | ≤0.5 | - | Hidravlik yağ, emulsiya, su, qaz və s. |
|
RC2054 | ≤40 | -35 ~ + 100 (uyğun o-ring nbr) | ≤2 | - | Hidravlik yağ, emulsiya, su, qaz və s. Hidravlik yağ, emulsiya, su, qaz və s. |
| -20 ~ + 200 (uyğun O-Ring FKM) | ||||||
|
Rcx18 | ≤20 | -35 ~ + 100 | ≤0.5 | - | Hidravlik yağ, emulsiya, su, qaz və s. |
|
Rdisi | <36 | -35 ~ + 100 | <0.5 | - | Hidravlik yağ, emulsiya, su, qaz və s. |
|
Rəbz | <36 | -35 ~ + 100 | <0.5 | - | Hidravlik yağ, emulsiya, su, qaz və s. |
|
Rcs-a | 0.5 | -35 ~ + 200 | 40 | ≤6 | Yağ, su, qaz və s. |
|
Rcs-b | 2 | -35 ~ + 200 | 20 | ≤1 | Yağ, su, qaz və s. |
|
Rcs-c | 1 | -35 ~ + 200 | 20 | ≤6 | Yağ, su, qaz və s. |
|
Rcs-d | 2 | -35 ~ + 100 | 20 | ≤6 | Yağ, su, qaz və s. |
|
RC2057-A | 0.5 | -35 ~ + 200 | 30 | ≤6 | Demək olar ki, bütün media |
|
RC2057-b | 2 | -35 ~ + 200 | 20 | ≤6 | Demək olar ki, bütün media |
|
RC2065 | 1 | -35 ~ + 200 | 6 | ≤1 | Hidravlik yağ, emulsiya, su, yağ və s. |































































































Ünvan
No.1 Ruichen Round, Dongliuting Industrial Park, Chengyang District, Qingdao City, Shandong Province, Çin
Tel
E-poçt