Dönər bahar enerjili möhürlər arasında əsasən iki növ var: RC2055 və RC2056. Ruichen möhürləri illərdir möhür məhsullarının inkişafını və istehsalını öyrənir. Fərqli vəziyyətlərə və fərqli ehtiyaclara görə, daha ətraflı dizaynı mükəmməlləşdirdi.
RC2055, fırlanan pan-plug möhürü, RC2055-B fırlanan dişli bir möhürdür və RC2055-C rotary y şəkilli birləşmə möhürüdür. Üçün yivləri bir-birini əvəz edir. Onlar fırlanan şaftlara tətbiq olunan bir örtüklü təzyiq olan yüksək funksiyalı möhürlərdir. Onların arasında RC2055 Rotary Pan-Plug möhürü paslanmayan polad bulaqlar və yüksək funksiyalardan ibarət plastiklərdən ibarətdir. RC2055-B və RC2055-C istifadə edərkən, uyğun elastomer materiallarını ağlabatan seçmək lazımdır.
RC2056 fırlanan pan-fiş möhürüdür və RC2056-B fırlanan Y şəkilli birləşmə möhürüdür. Yivləri də dəyişdirilə bilər. Dönən şaftlarda istifadə üçün də uyğundur. Bunların arasında RC2056 Rotary Pan-Plug möhürü paslanmayan polad bulaqlar və yüksək funksiyalı plastiklərdən ibarətdir. RC2056-B istifadə edərkən və uyğun elastomer materiallarını ağlabatan seçmək lazımdır.
Məhsul xüsusiyyətləri və tətbiqləri:
Məhsul xüsusiyyətləri:
Yüksək performans: Paslanmayan polad bulaqlar və yüksək funksiyalı plastiklər əla möhürləmə performansını və davamlılığını təmin etmək üçün birləşdirilmişdir.
Bir-birinin əvəzediciliyi: Serialdakı məhsulların yiv dizaynı eynidir, bu da fərqli iş şəraitinə çevik və çevik uyğunlaşma imkanı verir.
Geniş tətbiq olunur: müxtəlif sənaye ehtiyaclarını ödəmək üçün fırlanan şaftların bir tərəfli təzyiq möhürlənməsi üçün uyğundur.
İsteğe bağlı elastomerlər: RC2055-B, RC2055-C və RC2056-B uyğunlaşmanı yaxşılaşdırmaq üçün iş şəraitinə uyğun olaraq uyğun elastomer materiallarının seçilməsini dəstəkləyir.
Tətbiq ssenariləri:
Fırlanan şaftların bir tərəfli təzyiq möhürlənməsi sənaye avadanlıqları, mühəndis maşınları, hidrolik sistemlər və s. Üçün əladır.
Neft-kimya, enerji avadanlığı, ağır maşınlar və s. Kimi yüksək funksiyalı möhürlənən hadisələr tələb olunur.
Texniki üstünlüklər:
Paslanmayan polad bulaqlar uzunmüddətli sızdırmazlıq effektini təmin etmək üçün sabit radial güc təmin edir.
Yüksək funksiyalı plastik və elastomer materiallarının birləşməsi yüksək təzyiq və yüksək sürətli iş şəraiti üçün uygundur.
Groove dəyişdirilə bilən dizayn quraşdırma və istismarı asanlaşdırır və istifadənin dəyərini azaldır.
İstifadə təklifləri:
Müəyyən iş şəraitinə uyğun olaraq müvafiq möhür modelini və elastomer materialını seçin.
Mühürlə zədələnməməsi üçün quraşdırma zamanı yivin təmiz olmasını təmin edin.
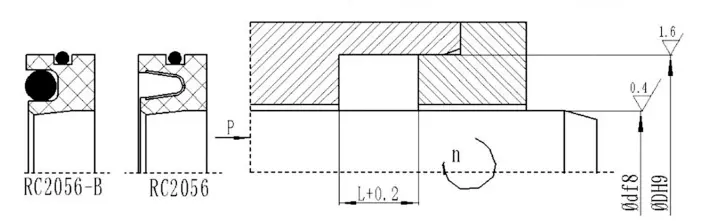
RC2055
Tətbiq olunan iş şəraiti (məhdud dəyərlər eyni zamanda görünməməlidir)
| Təzyiq etmək (MPa) | Temperatur (℃) | Sürətlə (m / s) | Mühit | |||
| ≤35 | RC2055 | RC2055-b / c | RC2055 | RC2055-b | RC2055-C | Demək olar ki, bütün maye və qaz mediası |
| -200 ~ + 250 | -35 ~ + 250 | <2m / s | <6m / s | <2m / s | ||
Material seçimi
1. Uyğun O-Ring materialları seçilə bilər: RO1 Nitril Rezin (NBR), Ro2 Fluororubber (FKM) və s.
2. Sızdırmazlıq Ring Materialları: PTFE1, PTFE2, PTFE3, PTFE4, UPE, PK1, PK2 və s.
3. Paslanmayan poladdan bahar: V şəkilli bahar.
Sifariş üçün
RC2055- 40-PTFE4 + v SHAFT diametri 40, möhürləmə ring materialı ptfe4, paslanmayan poladdan hazırlanmış bahar v şəkilli bahardır
RC2055-B-40-40-PTFE4 + R02 Şaft diametri 40, Sızdırmazlıq Ring materialıdır PTFE4, uyğun O-Ring Fluororubber
RC2055-C-40-40-40-PTFE4 + R02 Şaft Diametri 40, Sızdırmazlıq Ring materialı PTFE4, uyğun O-Ring Fluororubberdir
Xüsusiyyət parametrləri cədvəli (parametr aralığında olan bütün spesifikasiyalar mövcuddur)
| Çubuq diametrli diapazon d f8 | Yiv diametri Dh9 | Groove diametri D1H10 | Kənar dərinlik L1 | Yivli genişliyi L | İdxal bodufer k | Radial təmizləmə S max | Qarmaqarışıq | r maksimum | |
| 10MPA | 20MPA | ||||||||
| 5 ~ 19.9 | D + 5 | D + 9 | 0.85 -0.1 | 3.6 | 0.3 | 0.15 | 0.1 | Zmin = 0.8l | 0.8 |
| 20 ~ 39.9 | D + 7 | D + 12.5 | 1.35 -0.15 | 4.8 | 0.4 | 0.20 | 0.15 | 1.1 | |
| 40 ~ 400.9 | D + 10.5 | D + 17.5 | 1.8 -0.2 | 7.1 | 0.5 | 0.25 | 0.20 | 1.4 | |
| 401 ~ 1500 | d + 14 | D + 22 | 2.8 -0.2 | 9.5 | 0.5 | 0.30 | 0.25 | 1.6 | |
Qeyd: fırlanan şaftın səth sərtliyinin HRC ≥ 58 olması tövsiyə olunur.
RC2056
Tətbiq olunan iş şəraiti (məhdud dəyərlər eyni zamanda görünməməlidir)
| Təzyiq etmək (MPa) | Temperatur (℃) | Sürətlə (m / s) | Mühit | ||
| ≤2 | RC2056 | RC2056-b | RC2056 | RC2056-b | Demək olar ki, bütün maye və qaz mediası |
| -200 ~ + 250 | -35 ~ + 250 | <14m / s | <6m / s | ||
Material seçimi
1. Uyğun O-Ring materialları seçilə bilər: RO1 Nitril Rezin (NBR), Ro2 Fluororubber (FKM) və s.
2. Sızdırmazlıq Ring Materialları: PTFE1, PTFE2, PTFE3, PTFE4, UPE, PK1, PK2 və s. 3. Paslanmayan poladdan bahar: V şəkilli bahar.
Sifariş üçün
RC2056-40 * 62 * 8-PTFE4 + v d * d RC2056-B-40 * 62 * 8-PTFE4 + R02 D * D * L, möhürləmə üzük materialı PTFE4 və uyğun O-Ring Fluororubberdir



















Ünvan
No.1 Ruichen Round, Dongliuting Industrial Park, Chengyang District, Qingdao City, Shandong Province, Çin
Tel
E-poçt