Ruichen möhürlərinin əsas hidravlik möhürləri əsasən hər birinin öz üstünlükləri olan bir neçə növ möhür daxildir. O-üzüklər, aşağı istehsal dəyəri və rahat istifadə səbəbindən müxtəlif dinamik və statik möhürləmə hallarında geniş istifadə olunur. Əksər ölkələrin əksəriyyəti O-Rings üçün bir sıra məhsul standartlarını formalaşdırdılar, bunlar arasında Amerika Standartı (AS568), Yaponiya standartı (Jisb2401) və beynəlxalq standart (ISO 3601/1) daha çox yayılmışdır. Milli standartlar GB3452.1 və GB1235-dir.
Ulduz şəkilli möhür ring, bir x şəkilli bir forma olan dörd dodaq möhürüdür, buna görə də bir x şəkilli üzük adlanır. O-rinqə əsaslanan bir inkişaf və inkişafdır. Onun kəsişmiş ölçüləri ABŞ-ın 568a standartı olaraq O-Ring ilə eynidir və əsasən O-rinqin istifadəsini əvəz edə bilər.
Ulduz üzüklərinin üstünlükləri
O-üzüklərlə müqayisədə, ulduz üzükləri daha az sürtünmə müqaviməti və daha az başlanğıc müqavimətinə malikdirlər, çünki onlar möhürləmə dodaqları arasında sürtkü bir boşluq meydana gətirirlər. Çünki onun flash kənarı, çarpaz hissənin konkav hissəsində yerləşir, möhürləmə effekti daha yaxşıdır. Qeyri-dairəvi kəsik bölmə qarşılıqlı hərəkət zamanı yayma fenomenindən təsirli olur.
Ulduz üzük iş mexanizmi
Ulduz üzüyü özünü sərtləşdirən cüt işləyən möhürləmə elementidir. Radial və eksenel qüvvələr sistemin təzyiqindən asılıdır. Təzyiq artdıqca, ulduz üzüyünün sıxılma deformasiyası artacaq və bu, etibarlı bir möhür meydana gətirəcək.
Bir ulduz şəkilli bir möhür ringini necə seçmək olar
Şaft və çuxurun diametri məlumdursa, aşağıdakı meyarlara uyğun olaraq uyğun ulduz şəkilli möhür ringini seçin:
1. Statik möhürləmə və ya qarşılıqlı xətti hərəkət: (1) Çuxur möhürlənməsi: Ulduz şəkilli üzüyün daxili diametri yivlə uyğun olmalıdır və ya yivin alt diametrinin təxminən 2% -dən azdır. Çünki əvvəlcədən sıxılma yolu ilə yaradılan sıxılma qüvvəsi, ulduz şəkilli möhür üzüyünün bükülmə və yuvarlanmasına mane ola bilər. (2) Mili Sızdırılması: Ulduz şəkilli halqanın daxili diametri şaftın xarici diametrindən təxminən 0,2 ~ 0.3mm və ya milinin xarici diametrindən təxminən 1% daha böyük ola bilər. Nəticədə möhür ringi quraşdırmaq və daha uzun bir xidmət həyatına sahib olmaq daha asan olacaq.
2. Dönər möhürləmə: Ulduz şəkilli halqanın daxili diametri, möhürü olan mil diametrindən təxminən 2 ~ 5% daha böyük olmalıdır. Çünki möhür üzüyü fırlanan bir hərəkətdə istifadə edildikdə sürtünmə və istilik yarada bilər və rezin qızdırıldıqda büzüləcək (joule effekti). Buna görə möhür ringinin yağlanmış və etibarlı işləməsini təmin etmək üçün, şaft diametrindən daha böyük bir daxili diametri olan bir ulduz şəklində bir üzük seçilməlidir. Adətən, daha kiçik bir kəsişmə ilə möhür üzüyü statik möhürlənmənin ehtiyaclarını ödəyə bilər. Əksinə, dinamik möhürlə tanış olmaq üçün daha böyük bir xaç bölməsi olan bir möhür üzüyü seçilməlidir. Yüksək təzyiq və ya böyük boşluqlar olduqda, daha yüksək sərtlik olan bir rezin material seçilməlidir. Ən yaxşı yol, yüksək təzyiq ekstruziya zərərinin qarşısını almaq üçün bir PTFE saxlanan üzük əlavə etməkdir.
Örtüklü O-ring, Teflon'un kimyəvi müqaviməti ilə rezinliyini və rezinin elastikliyini və möhürlənməsini təşkil edir. Bu silikon və ya flüororubber daxili nüvədən və nisbətən nazik bir teflon fep və ya Teflon PFA xarici örtükdən ibarətdir.
Material: Teflon fep və Teflon PFA mahiyyətcə oxşardır, lakin Teflon PFA Teflon fep-dən daha yüksək temperatur müqavimətinə malikdir. Tətbiq olunan temperatur aralığı Teflon fep qabığı: -60 ℃ ~ 205 ℃ Qısa müddət ərzində 260 ℃ istifadə edilə bilər Teflon PFA Shell, -60 ℃ ~ 260 ℃ qısa müddətə 300 ℃-də istifadə edilə bilər:
1. Görkəmli kimyəvi müqavimət, demək olar ki, bütün kimyəvi media üçün uyğundur
2. Geniş temperatur aralığı
3. Yaxşı sıxılma müqaviməti
4. Sürtünmə əleyhinə
5. Yaxşı şişkinlik
6. Yüksək təzyiq müqaviməti
7. Əla möhürləmə davamlılığı və uzun xidmət müddəti
Tətbiq: Nasoslar və klapanlar, reaksiya gəmiləri, mexaniki möhürlər, filtrlər, təzyiq gəmiləri, istilik dəyişdiriciləri, qazanlar, boru kəmərləri, qaz kompressorları və s.
Tətbiq sənayesi: Kimya sənayesi, təyyarə istehsalı, Əczaçılıq sənayesi, neft və kimyəvi nəqliyyat və təmizlənmə, film sənayesi, qida emalı sənayesi, papermaking sənayesi, boya istehsalı, boya çiləmə və s.
Sızdırmazlıq üzükləri üçün quraşdırma təlimatları
1. Sızdırmazlıq halqalarının quraşdırıldığı və ya keçdiyi hissələr, hamar, burun, yivli və iti künclərdən hamar olmalıdır. Daxili çuxurun pürüzü 1.6μ-ə çatmalıdır və şaftın pürüzlülüyü 0.8uma çatmalıdır.
2. Sızdırmazlıq üzükünün səthini və təmasdakı müvafiq hissələrin səthini yağlamaq üçün təmiz işıq yağı və ya yağ tətbiq edin.
3. Möhkəmləmə üzükünü şaftın üstünə quraşdırmaq çətindirsə, onu genişləndirmək üçün bir neçə dəqiqə isti suya batırın. Bu yumşaldıcı və genişləndirilmiş O-ring quraşdırmaq daha asandır. İsti olduqda O-rinq quraşdırın və ölçüsü soyuduqdan sonra orijinal ölçüsünə qayıdır.
4. O-ring'i çox şiddətlə əyməyin, əks halda Teflondakı qırışlara səbəb olacaq və istifadəsinə təsir edəcəkdir.
Kapalı O-ringin tövsiyə olunan sıxılması aşağıdakı kimidir:
Statik Sızdırmazlıq Dövlət: 15% -20%
Dinamik Sızdırmazlıq Dövlət: 10% -12%
Pnevmatik vəziyyəti: 7% -8%
Əsl sıxılma iş şəraitini, xüsusən də möhürləmə iş təzyiqini və digər amilləri nəzərə almalıdır.
Məhsul xüsusiyyətləri və tətbiqləri:
| O-Ring Performance Parametr cədvəli |
|
|
|
|
Statik möhür | Dinamik möhür |
| İşgüzar təzyiq | Üzük saxlamadan, 20MPA Max Saxlanılan üzük ilə, 40 MAKA MAX, Xüsusi Saxlanılan Ring 200MPA Max | Saxlanmadan üzük, 5MPA Max Saxlanılan üzük ilə, daha yüksək təzyiq |
| Sürətlə | Qarşılıqlı 0,5 m / s max, 2m / s max | |
| Temperatur | Ümumi istifadə: -30 ~ 110, xüsusi rezin: -60 ~ 250, fırlanan: -30 ~ 80 | |
| Mühit | Materiallar bölməsinə baxın | |
| Standart | O-ring çarpaz bölmə diametri w |
|
|||||
| Amerika standartı 568 kimi British Standard BS 1516 | 1.78 | 2.62 | 3.52 | 5.33 | 6.99 | - | |
| Yapon standartı IT B2401 | 1.9 | 2.4 | 3.1 | 3.5 | 5.7 | 8.4 | |
| Beynəlxalq standart ISO 3601/1 Alman Standard DIN 3771/1 Çin Standard CB 3452.1 | 1.8 | 2.65 | 3.55 | 5.30 | 7.00 | - | |
| Tercih olunan metrik ölçülər | 1.0 | 1.5 | 2.0 | 2.5 | 3.0 | 3.5 | |
| 4.0 | 4.5 | 5.0 | 5.5 | 6.0 | 7.0 | ||
| 8.0 | 10.0 | 12.0 |
|
|
|
||
| Amerika standartı 568 kimi (900 seriya) | 1.02 | 1.42 | 1.63 | 1.83 | 1.98 | 2.08 | |
| 2.21 | 2.46 | 2.95 | 3.00 |
|
|
|
|
| Ulduz üzüklərinin tətbiqi çeşidi çox genişdir. Temperatur, təzyiq və mühitə görə düzgün materialı seçin. Ulduz halqasını müəyyən bir tətbiqə uyğunlaşdırmaq üçün, bütün iş parametrləri arasındakı qarşılıqlı məhdudiyyətlər nəzərdən keçirilməlidir. Tətbiq diapazonunu təyin edərkən pik temperatur, davamlı işləmə temperaturu və əməliyyat dövrü nəzərə alınmalıdır. Fırlanan tətbiqlərdə sürtünmə istiliyindən qaynaqlanan temperaturun artması da nəzərə alınmalıdır. | |||||
| Texniki parametrlər | Dinamik möhür | Statik möhür |
|
||
| Qarşılıqlı hərəkət | Fırlanma hərəkəti |
|
|||
| İşgüzar təzyiq (MPa) | Saxlanılan üzük ilə | 30 | 15 | 40 |
|
| Üzüyü saxlamadan | 5 | - | 5 |
|
|
| Sürət (m / s) | 0.5 | 2.0 | - |
|
|
| Temperatur (℃) | Ümumi hallar: -30 ℃ ~ + 110 ℃ |
|
|||
| Xüsusi materiallar: -60 ℃ ~ 200 ℃ |
|
||||
| Fırlanma halları: -30 ℃ ~ + 80 ℃ |
|
||||
Ulduz üzük materialı:
Material ümumiyyətlə Shaw A70 Nitril Rezin NBR.
Örtülmüş O-ring:
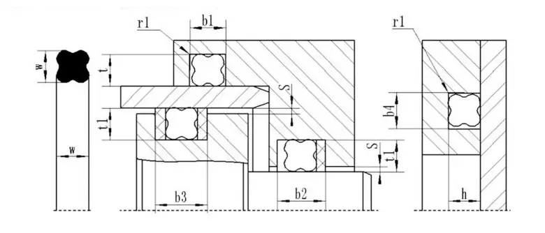
Encapsultuled O-ringin yivinin sxematik diaqramı
Encapsulated O-ringin yivinin ölçüsü cədvəli (tövsiyə olunur)
| Tel diametri d | A (mm) | B (mm) | ||
| Statik möhür | Dinamik möhür | Pnevmatik möhür | ||
| 1.78 | 2.36 / 2.49 | 1.42 / 1.52 | 1.55 / 1.60 | 1.63 / 1.65 |
| 2.62 | 3.56 / 3.68 | 2.08 / 2.21 | 2.29 / 2.36 | 2.39 / 2.44 |
| 3.53 | 4.75 / 4.88 | 2.82 / 3.00 | 3.10 / 3.18 | 3.22 / 3.28 |
| 5.33 | 7.14 / 7.26 | 4.27 / 4.52 | 4.67 / 4.80 | 4.90 / 4.95 |
| 6.99 | 9.63 / 9.65 | 5.59 / 5.89 | 6.15 / 6.27 | 6.43 / 6.48 |
Ruichen möhür ptfe möhürləmə təlimatı
Ⅰ. Quraşdırma təlimatı
1. The möhür, təzyiq istiqamətinə baxaraq əvvəlcədən yüklənmiş tərəfə quraşdırılmalıdır.
2. Silindr gövdəsi və piston çubuğu, şirkətin nümunələrinin tələblərinə cavab verən təkan çamferləri ilə edilməlidir.
3. Kəskin kənarları burr və yuvarlaq və ya çubuqlardan azad olmalıdır.
4. Mövzular, bələdçi üzük yivləri və s. Ödənilməlidir, çünki möhür yivlər, qazılmış deliklər və ya kobud səthlər vasitəsilə itələyə bilməz.
5. Hər hansı bir toz, zibil və ya digər xarici hissəciklər diqqətlə çıxarılmalıdır.
6. Kəskin kənarları olan alətlər istifadə edilməməlidir.
7. PTFE möhürləmə üzükləri qızdırılan yağda və ya suyun (təxminən 80 ~ 120 dərəcə) genişləndirmək və orijinal formalarına qədər bərpa etmək asandır.
8. Möhürün dodağı yağ təzyiqinin çuxurundan keçməlidirsə, çuxurun çamafarının möhürləmə dodağına xələl gətirməməsi üçün dodağı yumşaq bir şəkildə itələmək üçün istifadə edilməlidir. Silindr çuxurları çuxurlu olmalıdır. (Şəkil 3)
Ⅱ. Quraşdırma metodu
Açıq (split) yivlər alət olmadan quraşdırıla bilər.
Qapalı yivli piston çubuqlu möhürlərin quraşdırılması (Şəkil 1)
1. Təmiz və yağ bütün möhür substratları, möhürlər və quraşdırma vasitələri.
2. Rezin üzüyü yivə qoyun (bükülməməyə diqqət yetirin).
3. PTFE möhürü üzüyü bir ucu bir döngəni meydana gətirmədən böyrək şəklinə sıxın, sıxılmış PTFE möhür ringini yivə qoyun və yumşaq bir şəkildə düzəldin.
4. Recovery Mandrel-i möhürə itələyin və mandrelin yumşaq bir şəkildə dönün. 1 dəqiqə buraxın və mandrel çıxarın. Quraşdırma tamamlandı.
Qapalı yivlərdə piston möhürlərinin quraşdırılması (Şəkil 2)
1. Təmiz və yağ bütün möhür substratları, möhürlər və quraşdırma vasitələri.
2. Rezin üzüyü yivə qoyun (bükülməməyə diqqət yetirin).
3. PTFE möhürləmə halqasını bələdçi qoluna itələyin və möhürləmə halqasını uzatın.
4. Dartılmış sızdırmazlıq halqasını piston yivinə itələyin.
5. Düzəltmə qolunu möhürləmə halqasına itələyin və eyni zamanda düzəliş qolunu döndərin. 1 dəqiqə buraxdıqdan sonra düzəliş qolunu çıxarın və quraşdırma tamamlandı.
Qeyd: 1. Zəhmət olmasa şirkətimizin nümunəsində göstərilən məhsulu qapalı bir yivdə quraşdırıla bilməz, lakin açıq bir yiv üçün uyğun deyilsə, şirkətimizlə məsləhətləşin.
2. PTFE möhürlərinin yuxarıdakı quraşdırılması bütün PTFE möhürləri üçün tətbiq olunmur. Lazım gələrsə şirkətimizlə məsləhətləşin.



























Ünvan
No.1 Ruichen Round, Dongliuting Industrial Park, Chengyang District, Qingdao City, Shandong Province, Çin
Tel
E-poçt